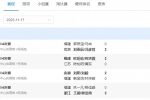
体育资讯11月17日讯 全运会羽毛球男双四分之一决赛全部结束,刘雨辰/冯彦哲、刘阳/刘毅、欧烜屹/何济霆、王昶/谢浩南四队选手挺进四强。
男双半决赛对阵情况如下:
刘雨辰/冯彦哲 VS 刘阳/刘毅
欧烜屹/何济霆 VS 王昶/谢浩南
男双四分之一决赛比分详情:
刘雨辰/冯彦哲2-0郭若涵/马尚
欧烜屹/何济霆2-0陈柏阳/黄荻
刘阳/刘毅2-0刘阳/刘毅
王昶/谢浩南2-0林一凡/杨佳峄
上一篇: 全运会羽毛球女双半决赛:贾一凡/张驰vs黄东萍/谭宁
下一篇: 全运会羽毛球女单1/4决赛:陈雨菲险胜张艺曼 晋级四强
勇士vs国王全程回放
弗鲁米嫩塞切尔西今日赛事
总决赛湖人vs热火无插件
佛罗里达州立大学vs迈阿密佛罗里达直播
北京与浙江cba直播
WNBA洛杉矶火花vs达拉斯飞翼直播
状元秀vs榜眼秀
马拉加沃克拉今日赛事